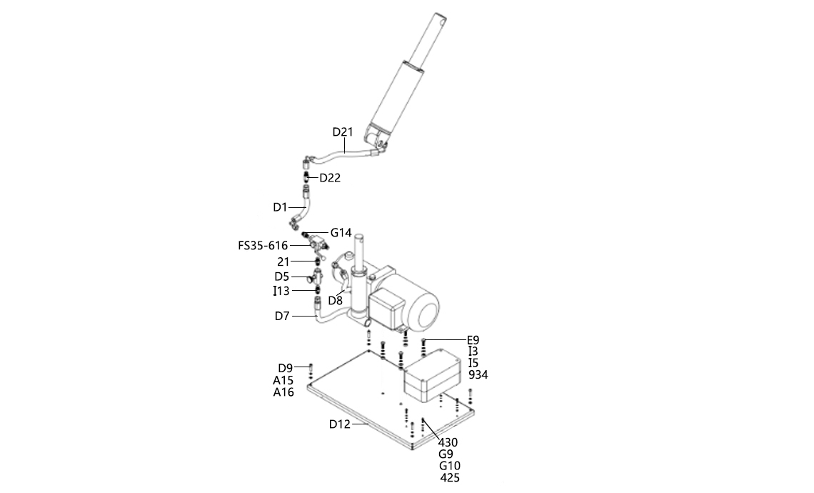
 |
FS35-616 |
高压球阀(三通)BK3 DN06-G1/4-112A-L |
S-030-600104-3 |
EQ02010000018 |
|
|
|
 |
425 |
六角螺母 |
GZBLS-B-004-040000-0,B-004-04000 |
FJ21011000020 |
|
|
|
 |
934 |
六角螺母 |
GZBLS-B-004-080000-0,B-004-08000 |
FJ21011000024 |
|
|
|
 |
D5 |
单向节流阀 |
S-030-600104-5 |
EQ02005000006 |
|
|
|
 |
G14 |
单向节流阀直通接头 |
S-020-G14G14-0 |
EQ08003000006 |
|
|
|
 |
G9 |
弹簧垫圈 |
GZBLS-B-050-040000-0,B-050-04000 |
FJ15004000014 |
|
|
|
 |
A15 |
弹簧垫圈 |
GZBLS-B-050-060000-0,B-050-06000 |
FJ15004000018 |
|
|
|
 |
I3 |
弹簧垫圈 |
GZBLS-B-050-080000-0,B-050-08000 |
FJ15004000020 |
|
|
|
 |
D12 |
电动泵安装支架(喷涂) |
|
JZ20102500019 |
|
|
|
 |
D22 |
隔板直通接头 |
S-020-G14000-0 |
EQ08003000010 |
|
|
|
 |
21 |
过渡直通接头 |
S-011-010400-13 |
EQ08003000021 |
|
|
|
 |
D9 |
内六角倒边螺钉 |
B-009-000620-0 |
FJ19010000017 |
|
|
|
 |
G10 |
平垫圈 |
B-040-040908-1 |
FJ15006000080 |
|
|
|
 |
I5 |
平垫圈 |
B-040-091616-1 |
FJ15006000105 |
|
|
|
 |
A16 |
平垫圈 |
B-040-061216-1 |
FJ15006000092 |
|
|
|
 |
430 |
十字槽盘头螺钉 |
B-024-040161-0,B-024-040161-0,GZ |
FJ19022000023 |
|
|
|
 |
E9 |
外六角螺栓全牙 |
GZBLS-B-014-080250-0,B-014-08025 |
FJ22012000099 |
|
|
|
 |
D8 |
油管200mm |
Q-001-000200-1 |
JZ30600300069 |
|
|
|
 |
D7 |
油管260mm |
Q-001-000260-1 |
JZ30600300067 |
|
|
|
 |
D1 |
油管300mm |
Q-001-000300-1 |
JZ30600300075 |
|
|
|
 |
D21 |
油管800mm |
Q-001-000800-2 |
JZ30600300088 |
|
|
|
 |
I13 |
直通接头/1BT-04SP内锥G1/4″×19 17 R1/4″×19 |
S-011-010400-12 |
EQ08003000028 |
|
|
|