图片 爆炸图编码 名称 原U8编码 SKU 价格 数量
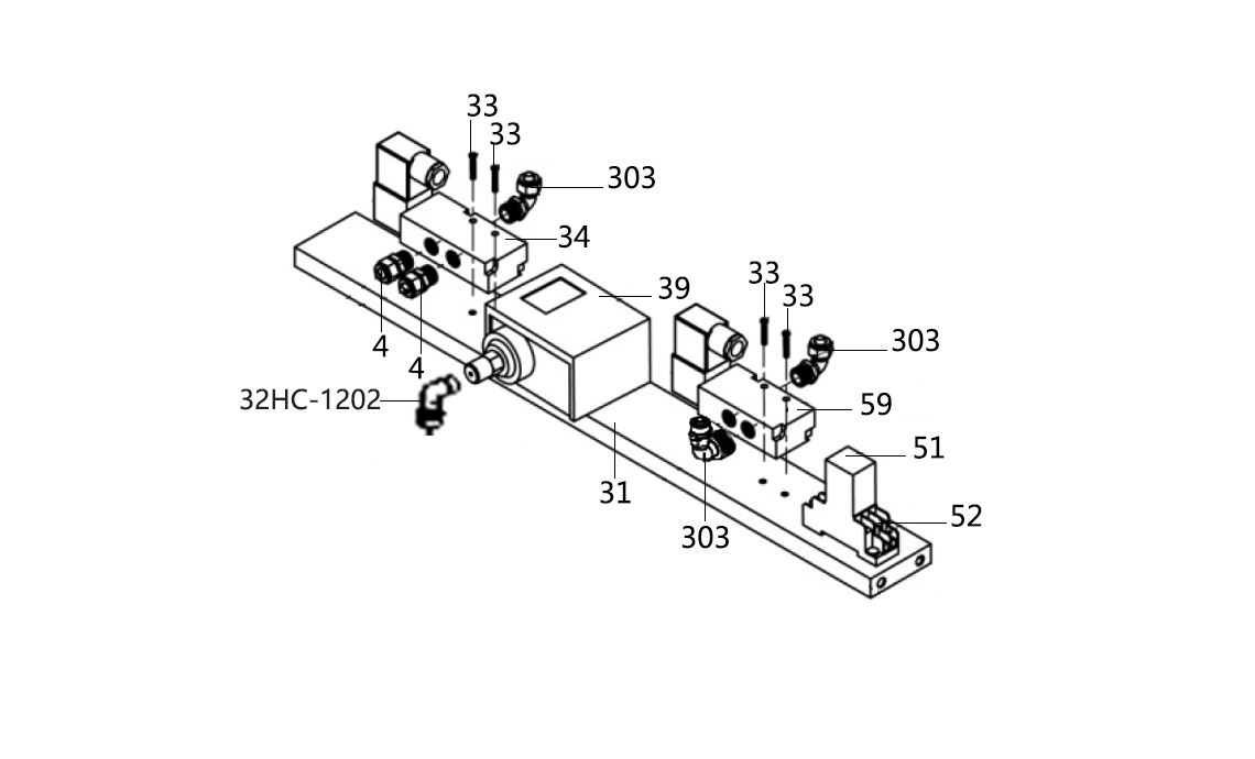
13 快拧直通 GZBLS-S-014-020801-6 EQ11005000017
- +
303 二通弯头(90度)1/4-φ8 GZBLS-S-015-020802-6,S-014-01040 EQ11004000009
- +
39 G1/4 压力控制器 GZBLS-NP-0050-02P100-0 DD15001000017
- +
31 TT300配电板(喷涂) GZBLS-NX-T300-000005-0 JZ20400300052
- +
59 二位三通阀3V210-08 H-030-008220-0,GZBLS-S-031-02022 EQ02008000003
- +
34 二位五通阀4V210-08 GZBLS-S-031-020220-5T EQ02008000006
- +
4 快拧直通 GZBLS-S-014-020802-6,S-011-01040 EQ11005000013
- +
33 十字槽沉头螺钉 GZBLS-B-017-040400-0 FJ19016000020
- +
51 中间继电器 GZBLS-D-037-000220-0 DD22008000002
- +
52 中间继电器底座 GZBLS-D-037-000013-0B DD22010000007
- +